索尼啟動Airpeak項目 進軍無人機領域
Napoleon Chan / 2020-11-10 09:2634939索尼已是全球最大的CMOS傳感器制造商了,但它野心不局限于此,現在開啟了Airpeak項目,以推進無人機技術發展。

目前索尼未詳細介紹Airpeak項目細節,只是表示“索尼將致力于通過在無人機領域應用成像/傳感技術、以及3R技術(Reality真實、Real-time實時和Remote遠程)為進一步推進和創造前所未有的新價值做出貢獻。Airpeak將支持視頻創作者最大幅度激發創造力,推動娛樂行業的進一步發展,并在眾多行業提升效率、降低成本。Airpeak還將竭盡全力,讓無人機能夠在傳統的困難環境中以更高水平的安全性和可靠性得以使用。”索尼計劃在2021春季正式發布Airpeak項目,現在正在收集資料,以及尋找該項目的專業合作伙伴。

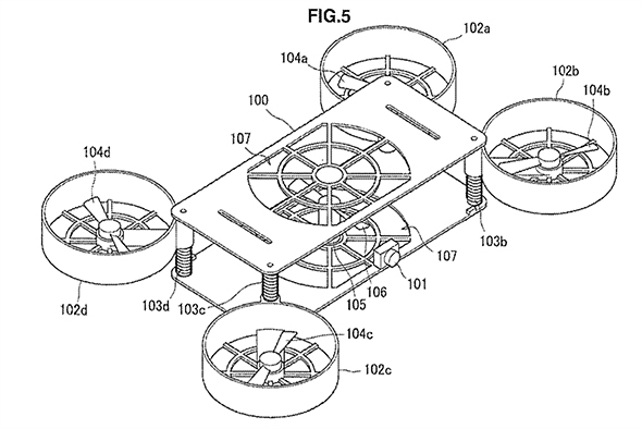
在今年1月份,索尼申請了無人機專利,現在不知該專利是否Airpeak項目的一部分,也無法確定Airpeak項目是計劃推出行業解決方案,還是推出無人機,一切只能等索尼公開。
點個贊639
索尼啟動Airpeak項目 進軍無人機領域














滬公網安備 31010702005758號
發表評論注冊|登錄